Антидроновые патенты

Карусели и пропеллеры
До 2022 года патенты с изделиями, призванными защищать технику от дронов, вызвали бы снисходительную улыбку. Бесперспективная была тема, чего греха таить. Хотя несложные логические умозаключения должны были привести экспертов к выводам о грядущей революции в военном деле. И она случилась в ходе специальной военной операции России на Украине.
Революция произошла однобокая – у сторон есть возможность применения дронов, но практически нет никакой защиты. Точнее, защита есть, но энерго- и материалоёмкость не сравнима с производством и использованием FPV-дронов.
Одним из решений стали капроновые рыболовные сети, которыми прикрывают критически важные дороги. Первой эта идея пришла российским инженерам, а потом её перенял противник. Но она не получила широкого распространения по двум причинам.
Первая – это очень трудоёмкая и опасная процедура. Выполнять подобную работу в зоне досягаемости дронов противника – очень непростая затея. Второй причиной стала лёгкость, с которой сетка нейтрализуется. Достаточно одного FPV – и в защите зияет огромное отверстие, через которое заходят остальные. Техника и личный состав под сеткой живёт с ложным чувством защищённости, что упрощает работу операторов камикадзе.
Аналогичным образом было найдено противоядие от систем РЭБ – дроны перешли на оптоволокно. Кстати, и здесь российские инженеры оказались впереди оппонентов. Это несколько усложнило производство и эксплуатацию камикадзе, но первые же уничтоженные цели с лихвой оправдали все затраты.
Поиск эффективных рецептов защиты от FPV-угрозы – задача очень нетривиальная, и вполне понятно, что патентные заявки по этой теме бьют все рекорды. Рассмотрим самые характерные технические решения. Сразу оговоримся, что далеко не все предложенные варианты имеют даже минимальные шансы на реальное воплощение, а некоторые патенты заставляют усомниться в здравом рассудке авторов.
«Буханка» с антидроновыми пропеллерами
Нетривиальным вариантом защиты от FPV-дронов и сбросов можно считать различные вращающиеся элементы – цепи, лопасти, трубы и так далее. В одном из исполнений предлагается пространственная конструкция из труб с семью электромоторами и пропеллерами. Таким образом, автор пытается организовать круговую защиту от атакующих дронов. В качестве двигателя для пропеллеров, по всей видимости, можно использовать элементы БПЛА сельскохозяйственного назначения – в простонародье «Баба-Яга». Из описания патента:
Механическое воздействие на БПЛА осуществляют вращающимися лопастями. Оператору БПЛА на мониторе из-за плохой связи трудно идентифицировать вращение лопастей и их границы. При попытке атаковать защищённое транспортное средство с большой долей вероятности оно попадет в зону вращения одной из лопастей.
Защищаемым транспортным средством в патенте выступает классическая «Буханка».
Следующий вариант защиты предусматривает отбор мощности на вращение конструкции, схема которой приведена ниже.
Штука получилась монструозная. От одного её вида противник даст дёру. Для того чтобы не испытывать морально-волевые качества бойцов, автор предлагает пока ограничиться защитой сухопутных беспилотников. Выдержка из патента:
Устройство содержит центральный шток, направляющие обручи, цепи вертикального и горизонтального вращения, диск для крепления цепей вертикального и горизонтального вращения, ступицу, вертикальные трубы, ограничительный обруч. Направляющие обручи жестко закреплены на верхней части каркаса, центром обручей является центральный шток с закрепленным на нем в нижней части диском для крепления цепей. Шток размещен на центральной верхней части транспортного средства и соединен со ступицей. Вертикальные цепи вторыми концами закреплены на верхней точке штока, горизонтальные цепи вторыми концами жестко соединены с вертикальными трубами.
Гораздо более рационально подошёл к делу автор устройство для защиты от БПЛА, предложив организовать вращение конструкции за счёт потоков набегающего воздуха. На крышу автомобиля предполагается монтировать ротор на подшипнике, к которому крепится конструкция, очень походящая на карусель. В отличие от приведённых выше идей, данная разработка закрывает машину полностью без ослабленных зон. В нерабочем состоянии карусель, словно паук, поджимает лапки, освобождая место для входа-выхода. Автор предлагает в качестве варианта организовать принудительно вращение карусели за счёт электромотора или коробки отбора мощности. Есть признаки переоценки значимости изобретения:
Аэродинамическая защита реализована в конструкции типа вращающейся карусели, имеющей горизонтальные радиальные элементы и вертикальные элементы, отбрасывающие приближающиеся дроны и их боевые средства (гранаты, мины), взрывающиеся при этом без контакта с защищаемым объектом и с отражением осколков, образующихся при взрыве.
Если с возможностью отбрасывания дрона ещё можно согласиться, то с нейтрализацией мины будут сложности. Она просто сдетонирует на карусели со всеми вытекающими последствиями.Ни один дрон не пройдёт!
Критиковать подобные решения очень легко. Они громоздки, снижают мобильность транспорта, неудобны и даже опасны в эксплуатации, а также с сомнительной эффективностью против отдельных видов оружия. Но определять жизнеспособность конструкции может только реальная эксплуатация на фронте. В конце концов, ещё четыре года назад никто и подумать не мог, что в атаку пойдут танки, со всех сторон зарешёченные, обитые бронелистами и с неподвижной башней. Монстры из «Безумного Макса» стали реальностью.
Ближе к реальности
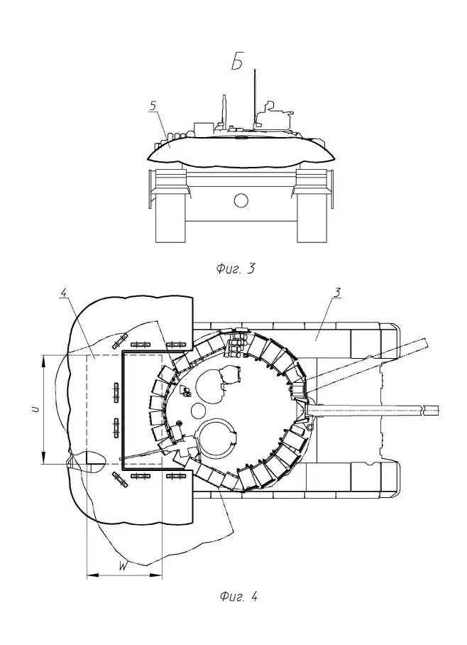
Одним из наиболее уязвимых мест танков является задняя полусфера, и этим очень часто пользуются операторы БПЛА. Для защиты кормы бронированных машин группа специалистов «Уральского конструкторского бюро транспортного машиностроения», среди которых главный конструктор предприятия Андрей Терликов, предложили «дополнительную защиту от атакующих средств поражения бронированного транспортного средства с башней и шасси с задним расположением моторно-трансмиссионного отделения». Это прочный гибкий упругий щиток, нависающий над двигателем, призванный защитить от атакующих средств поражения, например, гранат РПГ, ПТАБ, РКГ-3, ручных гранат Ф-1, в том числе доставляемых на дронах-камикадзе. Они либо отскакивают, либо подрываются на удалении, то есть щиток работает как взводный экран. Заявляется, что отскакивают боеприпасы массой до 3 кг. Нехитрая, прямо скажем, конструкция дополнительно снижает инфракрасную и радиолокационную заметность танка на поле боя. Патент датируется осенью прошлого года, но пока ничего не известно о серийном воплощении.

Два варианта защиты кормы танка от конструкторов «УКБТМ» – поменьше и побольше
Ещё одним вариантом защиты кормы танка от FPV-дронов можно назвать содержание патента под названием «Способ модернизации боевой машины с целью защиты от дронов-камикадзе и устройство для его осуществления». Авторы также из нижнетагильского «УКБТМ». Изделие несложно и представляет собой заборчик из гибкого и прочного материала, прикрывающий от атакующих камикадзе. Профиль преграды чуть превышает высоту башни и, в отличие от предыдущего изделия, не позволяет вести огонь с кормы.

Вот такой гибкий и прочный заборчик может появиться в скором времени на отечественных танках
Напоследок отвлечёмся от транспортных средств и посмотрим, как изобретатели предлагают защищать более масштабные объекты. Например, стоянки боевой техники, ремонтные мастерские и даже пункты управления войсками. В одном из свежих патентов (12.02.2025 г.) предлагается поднять в воздух аэростат, прикрепить его канатом к земле и привязать к нему «в различных направлениях нити, отведённые в стороны от центральной оси книзу с образованием конуса».

Из описания полезной модели к патенту. Заявка: 2025103026 от 12.02.2025 «Устройство защиты от БПЛА»
В патенте можно познакомиться с инструкцией по эксплуатации:
На базе небольшого аэростата (баллона с подъемной силой около 1 кг можно создать конус с высотой 150 метров и при угле наклонных нитей около 45 градусов окружностью на земле в районе 300 метров в диаметре, длина такой окружности будет около 950 метров. На установку нитей с шагом, например 3 метра, потребуется около 320 катушек, сами катушки можно размещать на гвоздях (шурупах), вкрученных в деревья или на тонкие стальные колья, вбитые в землю. Таким образом, катушка, размещённая на гвозде или колышке, может свободно вращаться, не слетая с них. Один человек может последовательно разместить на земле около нескольких десятков катушек и затем с пучком нитей, аккуратно разматывая их с катушек, следовать к точке запуска аэростата (баллона). Подразделение из десятка солдат, может установить такой конус в течение 15-20 минут. Данный конус можно устанавливать как над защищаемыми объектами, так и просто для ловли коптеров (БПЛА).
В этой истории прекрасно всё… кроме факта наличия того самого аэростата, представляющего собой отличное целеуказание как для БПЛА противника, так и для более тяжёлого вооружения. Вызываю огонь на себя в прямом смысле.
- Евгений Федоров
Обсудим?
Смотрите также:
